TOP
我的荣耀 开启荣耀之旅
Dernière réponse :
Bonjour à tous les fans d'Honor,
Après le lancement mondial de la série Magic 3, nous allons nous intéresser à une rumeur qui date depuis février dernier.
En effet, il se murmure dans plusieurs articles de rédacteur qu'Honor serait en cours de développement d’un smartphone pliant comme Samsung ou son ancien propriétaire Huawei.
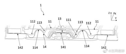
Aujourd'hui c'est un brevet déposé par Honor Terminal Co., Ltd. a obtenu un "équipement de paravent pliant" :


Selon l'autorisation de brevet, il ressort selon l'inspection de Tianyan que le dispositif de paravent de son application joue un rôle important dans le guidage et le contrôle de la forme pendant processus de pliage de la ligne de connexion électrique en définissant la première partie de limite de traction.
Après plusieurs étirements consécutifs, après le pliage, la ligne de connexion électrique peut former la mémoire de la direction de pliage, et enfin la ligne de connexion électrique peut maintenir la cohérence dynamique de pliage et de déformation dans toute la machine pendant une longue période.
Voilà qui va dans le bon sens pour un smartphone pliant, mais pourquoi Honor n'utilise-t-il pas directement l'écran pliable Huawei pour le "modifier et l'utiliser" ?
Tout simplement car cela démontre sa force et sa détermination indépendantes en matière de recherche et développement !
Alors qu'en dites-vous, un smartphone pliant développé par Honor serait-il intéressant ? Aimez-vous ce genre de produits ?
Bonne semaine à tous.
Lesnox
Sources :
https://weibo.com/1679260475/KtG1vnUBS?refer_flag=1001030103_
https://www.sohu.com/a/482553301_170520
Enregistré depuis 7 jours
Enregistré depuis 30 jours
Enregistré depuis 100 jours
Plus de 50 abonnés
Plus de 100 abonnés
Plus de 200 abonnés
Rédacteur motivé
Commentateur énergétique
Nouveau Venu
Halloween 2020
Fan du Mois
Noël 2020
2021 HONOR
Mini-concours photo Portrait
Vive le printemps !
Concours photo Paques
Enquête communautaire
Mini-Concours photo Voyager avec HONOR
Fête des Mères 2021
Journée du vélo et de la course à pied 2021
Mini concours photo été 2021
Fête Nationale
Mini-concours photo ciel
HONOR 50 Quiz
70K Fans
1
1
Posts populaires
6668
11
10446
57
4365
16
929
10
Abonnez-vous à notre newsletter et profitez d'avantages réservés aux fans!
Veuillez lire et accepter cette condition
J’accepte de recevoir de la prospection commerciale sur Whatsapp sur les produits, évènements, promotions et services HONOR. Je peux me désabonner à tout moment, comme indiqué dans la Politique de confidentialité.
Veuillez lire et accepter cette condition
J'accepte de recevoir les dernières informations et offres sur les produits, évènements et services de HONOR sur des plateformes tierces (en particulier, Facebook et Google). Je peux retirer mon consentement à tout moment comme indiqué sur la Politique de données personnelles.
Veuillez lire et accepter cette condition
CONTACT
Copyright ©HONOR 2017-2026. Tous les droits sont réservés.



Bonjour à tous les fans d'Honor,
Après le lancement mondial de la série Magic 3, nous allons nous intéresser à une rumeur qui date depuis février dernier.
En effet, il se murmure dans plusieurs articles de rédacteur qu'Honor serait en cours de développement d’un smartphone pliant comme Samsung ou son ancien propriétaire Huawei.
Aujourd'hui c'est un brevet déposé par Honor Terminal Co., Ltd. a obtenu un "équipement de paravent pliant" :
Selon l'autorisation de brevet, il ressort selon l'inspection de Tianyan que le dispositif de paravent de son application joue un rôle important dans le guidage et le contrôle de la forme pendant processus de pliage de la ligne de connexion électrique en définissant la première partie de limite de traction.
Après plusieurs étirements consécutifs, après le pliage, la ligne de connexion électrique peut former la mémoire de la direction de pliage, et enfin la ligne de connexion électrique peut maintenir la cohérence dynamique de pliage et de déformation dans toute la machine pendant une longue période.
Voilà qui va dans le bon sens pour un smartphone pliant, mais pourquoi Honor n'utilise-t-il pas directement l'écran pliable Huawei pour le "modifier et l'utiliser" ?
Tout simplement car cela démontre sa force et sa détermination indépendantes en matière de recherche et développement !
Alors qu'en dites-vous, un smartphone pliant développé par Honor serait-il intéressant ? Aimez-vous ce genre de produits ?
Bonne semaine à tous.
Lesnox
Sources :
https://weibo.com/1679260475/KtG1vnUBS?refer_flag=1001030103_
https://www.sohu.com/a/482553301_170520